本實用新型涉及船舶調節閥技術領域,具體為一種手動式氣動調節閥。

背景技術:
氣動調節閥就是以壓縮空氣為動力源,以氣缸為執行器,并借助于電氣閥門定位器、轉換器、電磁閥、爆違法等附件去驅動閥門,實現開關量或比例式調節,接收工業自動化控制系統的控制信號來完成調節管道介質的流量、壓力、溫度等各種工藝參數,氣動調節閥的特點就是控制簡單,反應快速,且本質安全,不需另外再采取防爆措施,氣動調節閥通常由氣動執行機構和調節閥連接安裝調試組成,氣動執行機構可分為單作用式和雙作用式兩種,單作用執行器內有復位彈簧,而雙作用執行器內沒有復位彈簧。其中單作用執行器,可在失去起源或突然故障時,自動歸位到閥門初始所設置的開啟或關閉狀態。
目前市場上通用的氣動調節閥,一般采用螺紋進行閥體固定。這種結構導致氣動調節閥拆裝不易。不但提高了手工操作的勞動強度,且多次拆裝后容易出現數據不準確,誤差較大的問題。由于加工誤差、裝配等方面的影響,當移動閥桿時,閥瓣密封面和閥座密封面之間的產生一定距離,當需要關閉該閥時,無法達到全密封狀態,泄漏量大,具有加工困難、成本高的技術缺陷。
技術實現要素:
本實用新型的目的在于提供一種手動式氣動調節閥,通過在閥體外側設置調節螺桿,通過手動調節鎖緊螺母鎖緊氣動調節閥,以解決上述背景技術中提出的問題。
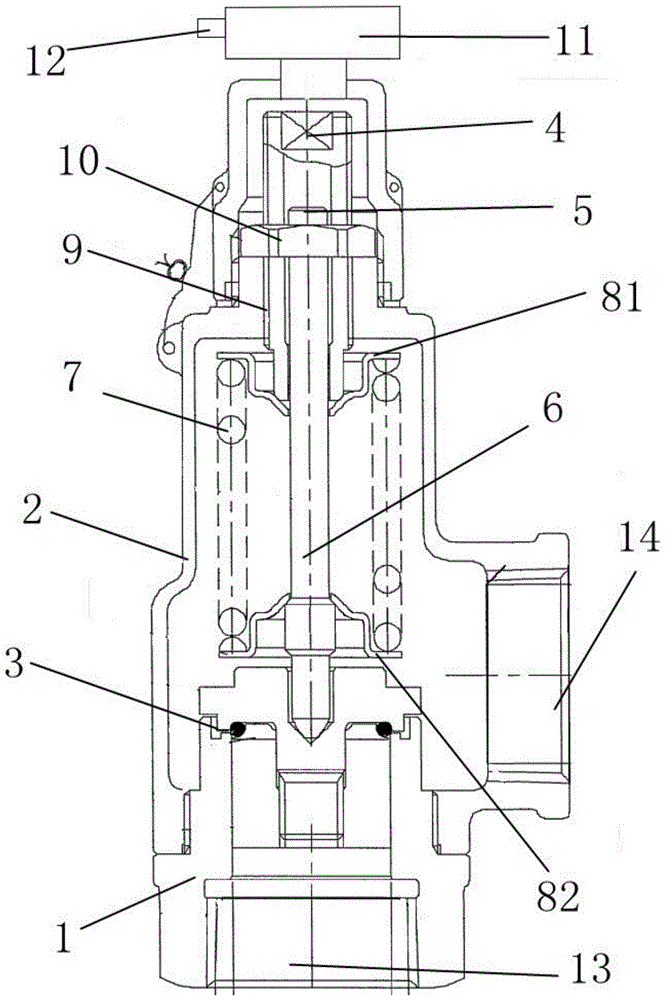
為實現上述目的,本實用新型提供如下技術方案:一種手動式氣動調節閥,包括閥體、閥蓋、閥瓣組件、連接器、上部閥桿、下部閥桿、彈簧、彈簧座、調節螺桿、鎖緊螺母以及氣動執行器,所述氣動執行器設于所述閥體的上方,所述連接器一端通過上部閥桿與氣動執行器連接,所述連接器另一端通過下部閥桿與閥體固定連接,所述調節螺桿設于所述連接器兩側,所述鎖緊螺母旋接與所述調節螺桿上,所述閥蓋設于所述氣動執行器與閥體之間,所述下部閥桿下端設于所述閥瓣組件內,所述下部閥桿兩側設有彈簧座,所述彈簧設于所述彈簧座上,所述閥體下方設有進口,所述閥體右側設有出口。
優選的,閥瓣組件包括閥瓣、閥瓣座、閥瓣彈簧以及o型密封圈,所述閥瓣座設于閥瓣的下方,所述o型密封圈設于所述閥瓣與閥瓣座之間,所述閥瓣彈簧設于所述閥瓣座與閥體之間。
優選的,閥瓣呈t型結構,所述閥瓣中部設有凹槽,所述凹槽與所述下部閥桿的底端相適配。
優選的,彈簧座與所述下部閥桿呈垂直結構,所述彈簧與所述下部閥桿呈平行結構。
優選的,彈簧座包括上彈簧座以及下彈簧座,所述上彈簧座與所述下彈簧座呈徑向對稱分布。
優選的,氣動執行器一側還設有電纜密封套。
與現有技術相比,本實用新型的有益效果是:
(1)本實用新型通過氣動調節閥中的閥體、上部閥桿、下部閥桿、閥瓣、氣動執行器等組件之間的相互配合,利用氣動調節閥內的調節桿,可以手動調節氣動調節閥的鎖緊結構,使得調節閥性能穩定,結構簡單,便于生產制造和操作。
(2)本實用新型通過在閥瓣組件中設置閥瓣座以及閥瓣彈簧,通過閥瓣座以及閥瓣彈簧,使氣動調節閥具有防振動性好的優點。
(3)本實用新型通過在閥瓣組件中設置o型密封圈,通過o型密封圈可以增加閥瓣與下部閥桿的密封性。
(4)本實用新型通過在氣動調節閥中設置連接器,通過連接器連接氣動執行器以及閥體,使得氣動執行器能帶動閥體運行。
(5)本實用新型在上部閥桿兩側設置調節螺桿,通過調節螺桿與鎖緊螺母之間的配和,在啟閉閥門時,確保閥蓋、閥體與閥瓣之間的密封性保持良好。
(6)本實用新型通過在氣動執行器一側設置電纜密封套,可以將電纜線藏于電纜密封套中,防止被外界環境影響使用。
附圖說明
圖1為氣動調節閥整體結構圖;
圖2為閥瓣組件結構圖。
具體實施方式
下面將結合本實用新型實施例中的附圖,對本實用新型實施例中的技術方案進行清楚、完整地描述,顯然,所描述的實施例僅僅是本實用新型一部分實施例,而不是全部的實施例。基于本實用新型中的實施例,本領域普通技術人員在沒有做出創造性勞動前提下所獲得的所有其他實施例,都屬于本實用新型保護的范圍。
請參閱圖1和圖2,本實用新型提供一種技術方案:一種手動式氣動調節閥,包括閥體1、閥蓋2、閥瓣組件3、連接器4、上部閥桿5、下部閥桿6、彈簧7、彈簧座8、調節螺桿9、鎖緊螺母10以及氣動執行器11,氣動執行器11設于1的上方,氣動執行器11一側還設有電纜密封套12,通過在氣動執行器11一側設置電纜密封套12,可以將電纜線藏于電纜密封套12中,防止被外界環境影響使用,連接器4一端通過上部閥桿5與氣動執行器11連接,連接器4另一端通過下部閥桿6與閥體1固定連接,通過在氣動調節閥中設置連接器4,通過連接器4連接氣動執行器11以及閥體1,使得氣動執行器11能帶動閥體1運行,調節螺桿9設于連接器4兩側,鎖緊螺母10旋接與調節螺桿9上,在上部閥桿5兩側設置調節螺桿9,通過調節螺桿9與鎖緊螺母10之間的配和,在啟閉閥門時,確保閥蓋2、閥體1與閥瓣31之間的密封性保持良好,閥蓋2設于氣動執行器11與閥體1之間,下部閥桿6下端設于閥瓣組件3內,下部閥桿6兩側設有彈簧座8,彈簧設于彈簧座8上,彈簧座8與下部閥桿6呈垂直結構,彈簧與下部閥桿6呈平行結構,彈簧座8包括上彈簧座81以及下彈簧座82,上彈簧座81與下彈簧座82呈徑向對稱分布,閥體1下方設有進口13,閥體1右側設有出口14,閥瓣組件3包括閥瓣31、閥瓣座32、閥瓣彈簧33以及o型密封圈34,閥瓣座42設于閥瓣41的下方,o型密封圈34設于閥瓣31與閥瓣座32之間,閥瓣彈簧33設于閥瓣座32與閥體1之間,閥瓣31呈t型結構,閥瓣31中部設有凹槽35,凹槽35與下部閥桿6的底端相適配,通過在閥瓣組件3中設置閥瓣座32以及閥瓣彈簧33,通過閥瓣座32以及閥瓣彈簧33,使氣動調節閥具有防振動性好的優點,通過在閥瓣組件3中設置o型密封圈34,通過o型密封圈34可以增加閥瓣31與下部閥桿6的密封性。
使用方法
在使用氣動調節閥之前,首先進行密封試驗,在閥門處于關閉狀態時,從進口通道通入試驗介質,觀察出口通道有無泄漏。由于加工誤差、裝配等方面的影響,閥體1、上部閥桿5、下部閥桿6以及閥瓣組件3之間會產生些微的距離,因此無法達到全密封狀態,工作人員手動調節鎖緊螺母10,在調節螺桿9上進行鎖緊閥體1、上部閥桿5、下部閥桿6以及閥瓣組件3之間鎖緊裝置,鎖緊螺10母帶動調節螺桿9順時針旋轉,在調節外螺紋和調節內螺紋的配合下,實現對氣動調節閥的鎖緊調節。
盡管已經示出和描述了本實用新型的實施例,對于本領域的普通技術人員而言,可以理解在不脫離本實用新型的原理和精神的情況下可以對這些實施例進行多種變化、修改、替換和變型,本實用新型的范圍由所附權利要求及其等同物限定。
技術特征:
1.一種手動式氣動調節閥,其特征在于:包括閥體、閥蓋、閥瓣組件、連接器、上部閥桿、下部閥桿、彈簧、彈簧座、調節螺桿、鎖緊螺母以及氣動執行器,所述氣動執行器設于所述閥體的上方,所述連接器一端通過上部閥桿與氣動執行器連接,所述連接器另一端通過下部閥桿與閥體固定連接,所述調節螺桿設于所述連接器兩側,所述鎖緊螺母旋接與所述調節螺桿上,所述閥蓋設于所述氣動執行器與閥體之間,所述下部閥桿下端設于所述閥瓣組件內,所述下部閥桿兩側設有彈簧座,所述彈簧設于所述彈簧座上,所述閥體下方設有進口,所述閥體右側設有出口。
2.根據權利要求1所述的一種手動式氣動調節閥,其特征在于:所述閥瓣組件包括閥瓣、閥瓣座、閥瓣彈簧以及o型密封圈,所述閥瓣座設于閥瓣的下方,所述o型密封圈設于所述閥瓣與閥瓣座之間,所述閥瓣彈簧設于所述閥瓣座與閥體之間。
3.根據權利要求2所述的一種手動式氣動調節閥,其特征在于:所述閥瓣呈t型結構,所述閥瓣中部設有凹槽,所述凹槽與所述下部閥桿的底端相適配。
4.根據權利要求1所述的一種手動式氣動調節閥,其特征在于:所述彈簧座與所述下部閥桿呈垂直結構,所述彈簧與所述下部閥桿呈平行結構。
5.根據權利要求4所述的一種手動式氣動調節閥,其特征在于:所述彈簧座包括上彈簧座以及下彈簧座,所述上彈簧座與所述下彈簧座呈徑向對稱分布。
6.根據權利要求1所述的一種手動式氣動調節閥,其特征在于:所述氣動執行器一側還設有電纜密封套。
技術總結
本實用新型公開了一種手動式氣動調節閥,包括閥體、閥蓋、閥瓣組件、連接器、上部閥桿、下部閥桿、彈簧、彈簧座、調節螺桿、鎖緊螺母以及氣動執行器,氣動執行器設于閥體的上方,連接器一端通過上部閥桿與氣動執行器連接,連接器另一端通過下部閥桿與閥體固定連接,調節螺桿設于連接器兩側,鎖緊螺母旋接與調節螺桿上,閥蓋設于氣動執行器與閥體之間,下部閥桿下端設于閥瓣組件內,下部閥桿兩側設有彈簧座,彈簧設于彈簧座上,閥體下方設有進口,閥體右側設有出口。本實用新型通過氣動調節閥中各組件之間的相互配合,利用氣動調節閥內的調節桿,可以手動調節氣動調節閥的鎖緊結構,使得調節閥性能穩定,結構簡單,便于生產制造和操作。